Vintage Drum Forum
  • Home
  • Forum
  • Gallery
  • Members
Search
Register
  • Important Web Site Pages
    • My Collection
    • Other Collections
    • Reference Books and Catalogs
    • Works in Progress
    • Links
    • Identify Drum Form
  • Vintage Drum Identification
    • Snare Drums
    • Drum Badges
    • Drum Hardware
    • Drum Finishes
    • Serial Numbers
    • Company Time Line
    • Slingerland Drums
  • Restoration and Help
    • Cleaning and Restoring
    • How to Refinish a Drum
    • Fix a Zoomatic
    • Is my drum COB
    • Yellow WMP
    • Types of Drum Hoops
    • Measuring a Drum
  • Visit Our Partner Web Sites
    • Vintage Drum Forum
    • Vintage Cymbal Guide
    • Vintage Drum Guide
  • Donate
  • Home
  • Forum
  • Gallery
  • Members
  • Mark Forums Read
Only Admins can see this message.
Data Transition still in progress. Some functionality may be limited until the process is complete.
Processing Attachment, Gallery - 202.81420%
  • Gallery Home
  • Images
  • Albums

Gallery

  • Previous
  • 1
  • 2
  • ...
  • 15542
  • 15543
  • 15544
  • 15545
  • 15546
  • ...
  • 19108
  • 19109
  • Next
This is the Display Your Fibes Drums Thread
No Album
1 year ago
This is the Display Your Fibes Drums Thread
patrick
Help dating Zildjian
No Album
1 year ago
Help dating Zildjian
dds4
Krut
No Album
1 year ago
Krut
funkypoodle
OLD Ludwig strainers for sale..
No Album
1 year ago
OLD Ludwig strainers for sale..
blairndrums
Few Ludwig/WFL cocktail accessories
No Album
1 year ago
Few Ludwig/WFL cocktail accessories
RIMS n SKINS
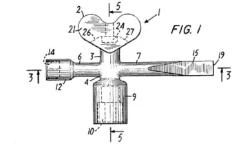
Who made this drum key?
No Album
1 year ago
Who made this drum key?
Webmaster
  • Previous
  • 1
  • 2
  • ...
  • 15542
  • 15543
  • 15544
  • 15545
  • 15546
  • ...
  • 19108
  • 19109
  • Next
Vintage Drum Forum
  • Important Web Site Pages
    • My Collection
    • Other Collections
    • Reference Books and Catalogs
    • Works in Progress
    • Links
    • Identify Drum Form
  • Vintage Drum Identification
    • Snare Drums
    • Drum Badges
    • Drum Hardware
    • Drum Finishes
    • Serial Numbers
    • Company Time Line
    • Slingerland Drums
  • Restoration and Help
    • Cleaning and Restoring
    • How to Refinish a Drum
    • Fix a Zoomatic
    • Is my drum COB
    • Yellow WMP
    • Types of Drum Hoops
    • Measuring a Drum
  • Visit Our Partner Web Sites
    • Vintage Drum Forum
    • Vintage Cymbal Guide
    • Vintage Drum Guide
  • Donate
Current time is October 9, 2025, 3:51 pm
Vintage Drum Forum footer logo
  • Vintage Drum Guide
Copyright ©2022-2025 Vintage Drum Forum

Login to Vintage Drum Forum

Forgot Password?